| Sign In | Join Free | My benadorassociates.com |
|
| Categories | Capsule Filling Machine |
|---|---|
| Brand Name: | SED-Pharma |
| Model Number: | SED-BJ-III-A |
| Certification: | CE |
| Place of Origin: | China |
| MOQ: | 1 Set |
| Price: | Negotiation |
| Payment Terms: | T/T,L/C, MoneyGram,Cash |
| Supply Ability: | 30 Sets per month |
| Delivery Time: | 35 Days after receiving the deposit |
| Packaging Details: | Wooden Case |
| Name: | Semi Automatic Powder Capsule Filling Machine For Pharmaceutical |
| Model: | SED-BJ-III-A |
| Capacity: | 10000-22500 capsules/h |
| Type of filling materials: | Powder/Pellets |
| Capsule Size: | 000#-5# and safety capsule |
| Power: | 220V/380V 1P/3P 4.0KW |
| Dimensions: | 1140*700*1630mm |
| Locking Device: | Automatic |
| material: | stainless steel |
| key word: | Powder Capsule Filling Machine, Automatic Capsule Filling Machine |
| Company Info. |
| Hangzhou SED Pharmaceutical Machinery Co.,Ltd. |
| Verified Supplier |
| View Contact Details |
| Product List |
Semi Automatic Powder Capsule Filling Machine For Pharmaceutical
Product Description of Capsule Filling Machine
SED-BJ-III-A Semi-Automatic Capsule Filling Machine is special capsule filling machine, which is suitable for capsule filling of powder and granules in small and medium pharmaceutical factory, hospital preparation lab, etc. And it can complete capsule sewing, separating, filling, locking, etc.
The machine adopts PLC, touch screen, stepless transduction speed-shift, and electronic automatic counter. The dosage is accurate, and the operation is convenient. The overall machine is made of 304 stainless steel, in line with GMP requirements.
Technical Parameters of Capsule Filling Machine
| Model | SED-BJ-III-A |
| Capsule Size | 000#-5# |
| Capacity | 10000-22500 capsules/h |
| Power Supply | 220V/380V 1P/3P 4.0KW |
| Vacuum Pump | 40m3/h |
| Capacity of Air Compressor | 0.03m3/min 0.7Mpa |
| Overall Dimension | 1140*700*1630mm |
| Weight | 420kg |

Function of Main Parts
Capsule Sowing Mechanism
The function of this mechanism is to take empty capsules out from
the bunker to the capsule sowing tube under which there is a screw
adjusting switch. When the capsule sowing tube is driven by the
sector gear and drops to the bottom, the switch will send out a row
of capsules (7 pieces per row of 1#, 2# capsules, 5 pieces per row
of 00# capsules, 6 pieces per row of 0# capsules). When the
capsule-sowing tube rises upwards, the switch will close the
capsule-sowing tube. The capsules which have dropped on the capsule
comb will be pushed forward to the position of direction-changing
under the action of the capsule-pushing board and the capsules will
drop into the capsule disk (the body downwards and the cap upwards)
when they are pushed and pressed downwards by the capsule-pressing
head. (See Figure 2 and Figure 3). There is negative pressure air
current at the bottom of the capsule disk, when the capsules are
pressed down by the capsule-pressing head and leave the capsule
comb, they will be absorbed into the capsule disks under the action
of the air current in the capsule disk holes. Because a small step
in the hole of the upper capsule disk stops the capsule cap and
keeps it in the upper capsule disk, but the capsule body goes on
gliding into the hole of the lower capsule disk under the action of
vacuum, this mechanism finishes arranging, direction-changing and
separating of the capsules.


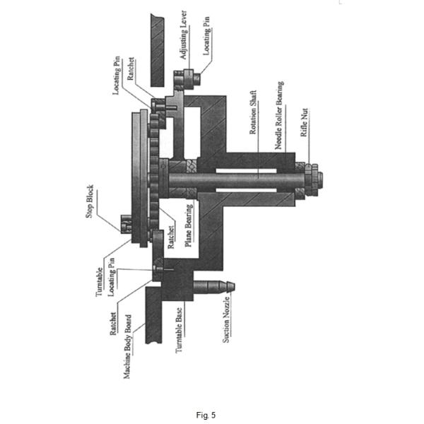
The individual converter speed regulating motor drives the cam, rocking bar and ratchet mechanism to make this mechanism run. The cam rotates each circle, the ratchet will also push on a tooth (that is making the capsule disk push on a row hole), and meanwhile the cam will drive the rocking bar to make the rocking bar run for one cycle. (See Figure 4 and Figure 5)
This mechanism has a programming control system, so when the capsule disk is filled with capsules, this mechanism will stop automatically, and it also can stop halfway manually when it needs stopping. The speed of this machine can be regulated through the knob on the console and can be displayed through the converter.
If some capsules separate incompletely, you can stir the capsule disk with hand 2~3 revolutions so as to make them separate completely under vac-sorb.
This machine has a pair of mold and a pair of capsule disk with it
when leaving factory, user can choose and order another mold and
capsule disk according to the catalogue of parts. (See Figure 12
and Figure 13)

Difference: 00# device 5 holes each row, the capsule disk 5×60=300 holes, the thimble disk 300 needles, 0# device 6 holes each row, the capsule disk 6×60=360 holes, the thimble disk 360 needles, and correspondingly capsule-pressing head, capsule-pushing board, capsule comb and switch are all 6 rows.
1#, 2#, 3# device 7 holes each row, the capsule disk 7×60=420 holes, the thimble disk 420 needles, and correspondingly all the parts are 7 rows.
Filling Mechanism
The function of this mechanism is to fill the drug into the empty capsule on the capsule disk automatically and in proper order. With a converter speed regulating motor (its rotational speed is displayed on the touch board) fixed on the bunker drives the propeller to force the drug to be filled into the empty capsule. The lower turntable drives the capsule disk to rotate, the lower turntable is also driven to rotate by a converter speed regulating motor. The lower turntable makes the capsule disk rotate a circle under the feeding mouth, which is controlled by induction switch counting control (the counter is set at 30 times). When the filling starting button is pressed down, the bunker will be pushed to the capsule disk by the cylinder, after the bunker is in its place, the turntable motor and the bunker motor will automatically start (See Figure 6 and Figure 7), and they will automatically stop after the capsule disk rotates a circle, and meanwhile the cylinder will pull the bunker and make it withdraw from the capsule disk.
Adjustment of filling volume – You can adjust the speed of the
bunker motor and the speed of the turntable motor according to the
filling volume and the flow characteristics of the drug. If the
drug is difficult to fill, you can adjust the set value of counter
at 60 or 90, but it is set at 30 (one circle) before the machine
leaves factory.

Locking Mechanism
The function of this mechanism is to lock the capsule which is
filled with drug (namely close the upper disk and the lower disk).
Make the capsule-sustaining cylinder move through the pedal valve,
and then push the capsule disk with hand to make the thimble reset,
push the capsule out and make it flow into the capsule-collecting
box. (See Figure 8)
Pneumatic Control System
The first step of the triplet part is air filtering, the second step is pressure regulating, and the third step is lubrication of gasified oil mist supply gas circuit system, the oil spout regulating can generally spout a drop of oil every 1~3 minutes (so can the ordinary machine oil).
The pedal valve controls the action of the locking cylinder. When you step on the pedal valve, the locking cylinder will push out to lock the capsule. When you loosen the pedal valve, the cylinder piston will draw back.
The electromagnetic valve is commanded by the electrical system and
is used for controlling the action of the filling bunker. There are
two one-way throttle valves at the outlet of the electromagnetic
valve, which are used for controlling the running speed of the
cylinder. (See Figure 9)

Electrical Control System
This machine adopts 400V 50Hz three-phase four-wire system and a wire for ground protection. User must be sure to connect the ground protecting wire before switching on power.
This machine adopts the converter speed regulating motor stop drive the respective driving part for operation and make maintenance easy.
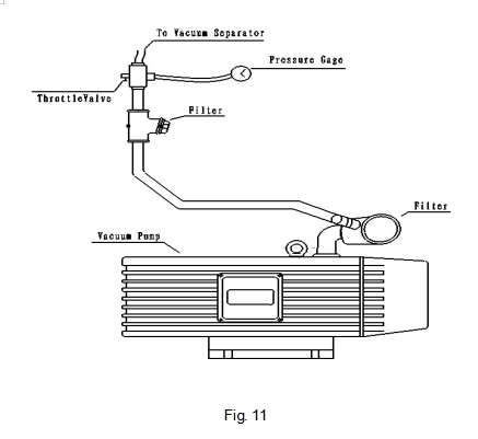
Starting and stopping of the vacuum pump are instructed by a pair of staring and stooping buttons on the panel, which are interlocked with an A.C. contactor in the box. When the button ON (2) is pressed down, the vacuum pump will start and self-lock running, the electromagnetic valve works in the meantime. When the button OFF (2) is pressed down, the vacuum pump will stop running (there is a filter valve in the vacuum pipeline system so as to prevent bits of the capsule from entering the vacuum pump. It is equipped with a vacuum meter for displaying the system pressure). (See Figure 10)
Starting and stopping of the air pump (has the same principle as the vacuum pump system). Press ON (1) to start and press OFF (1) to stop.
Starting and stopping of capsule-sowing: The capsule-sowing mechanism takes the individual motor as motive power and the rotational speed is controlled by a converter and is regulated through the knob. When ON (3) is pressed down, the capsule-sowing mechanism will start. When OFF (3) is pressed down, the capsule-sowing mechanism will stop. After starting the capsule-sowing mechanism will automatically run in a circuit (namely 60 times), the counter will be set at 60 times of control before automatically stopping the machine.
Starting and stopping of filling: The filling mechanism adopts two stepless speed regulating motors to separately drive the bunker part and the turntable part, and has the cylinder, the electromagnetic valve and the counter to match its running cycle law. The running speeds of the bunker and the turntable will be displayed on the revolution meter separately.
When the button ON (1) is pressed down, the electromagnetic valve will attract and open the gas circuit to provide the cylinder with air and the cylinder will push the bunker into the turntable. When the cylinder moves, the time delay unit will time for it (the time delay unit is set at 2 seconds before it leaves factory). After the bunker is in its place, the time delay unit will finish timing, namely instruct the turntable motor and the bunker motor to start running. At this moment, the counter will start counting for the turntable. After the turntable rotates to the set place (it is set at 30 times before the machine leaves factory, namely the turntable runs a cycle), the turntable motor and bunker motor will stop rotating at the same time and the electromagnetic valve will return to its place to make cylinder move and draw the bunker backwards to make it return to its place.
Protective Device: This protective device is used for preventing hands or hard matters from entering the capsule-sowing head mechanism on running. The structure is that a protective door covers the working surface of the capsule-sowing head and a micro-limit switch interlocked with the capsule-sowing control circuit is fixed at the bottom of the door shaft (in the machine body). When the door is opened, the capsule-sowing motor will stop at once, the indicator lamp (9) on the panel shines.


Application of Capsule Filling Machine

|